2002年6月25日
;58 (12)
科学杂志
渐进多焦点的脑白质病
r·d·亨德森,m·g·史密斯,p .的股票,s . j .读
第一次出版2002年6月25日,
DOI: https://doi.org/10.1212/WNL.58.12.1825
一个58岁妇女住院有一个3个月的历史进步的神经恶化严重的失语症,两国肢体无力,更大的右边。病人有10年历史的系统性红斑狼疮(SLE)。多发性关节炎出现了前6周出现神经症状;她接受强的松和甲氨蝶呤。诊断为渐进多焦点的脑白质病(PML)建立了一个积极的从脑脊液PCR JC病毒。病人恶化,进一步活跃保健被撤回。
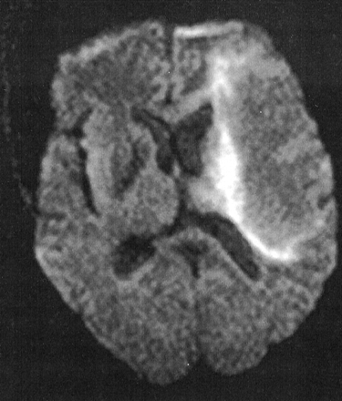
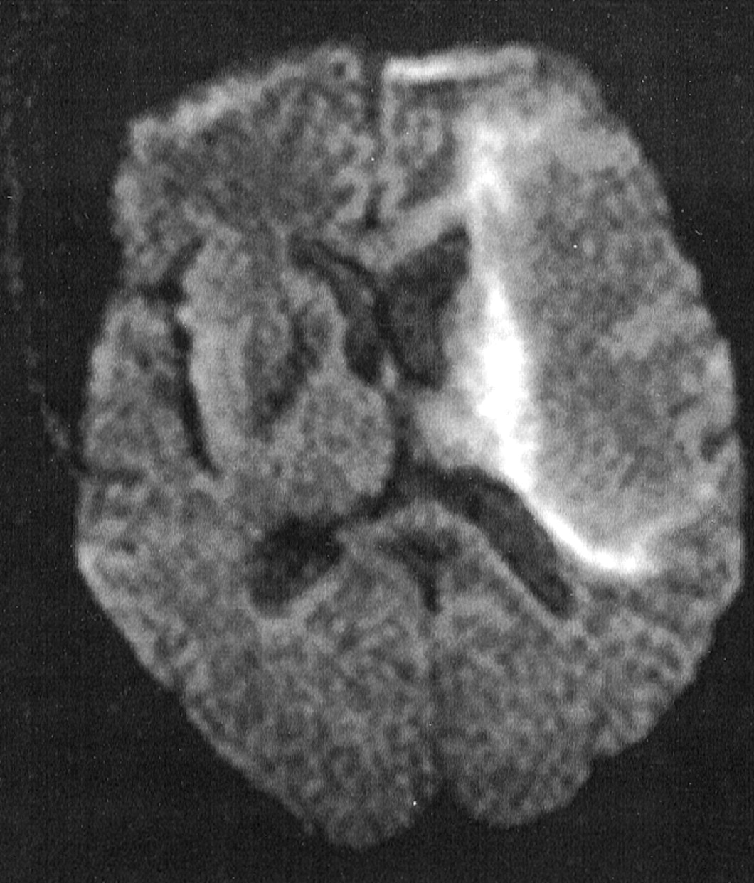
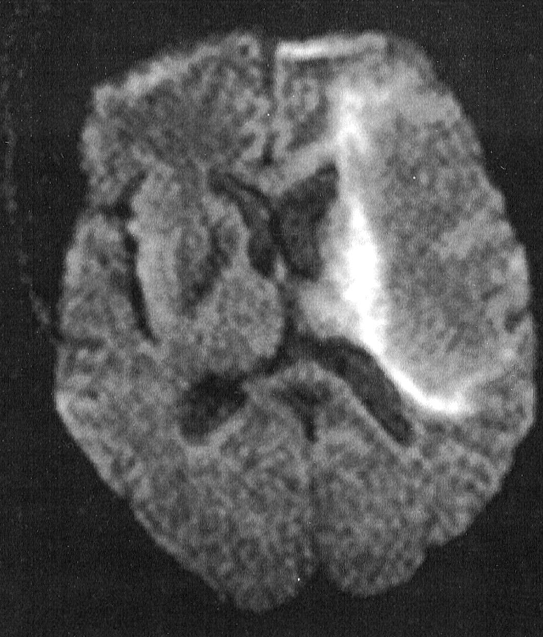
串行MRI显示扩大面积在T1和t2加权像上hyperintensity hypointensity左顶叶。病变主要白质和没有质量效应有关。rim的高信号出现在左顶叶病变边缘的diffusion-weighted图像(图)降低表观扩散系数(ADC) ADC地图。没有IV钆增强后管理。
PML对系统性红斑狼疮治疗免疫抑制是少见。1核磁共振成像发现PML通常包括限制主要病变在白质没有质量效应和对比度增强。1、2⇓先生序列表明发展区域周围的细胞毒性水肿之前白质损伤的区域。2
信:快速的网络通信
你可能也会感兴趣
广告
相关文章
-
没有找到相关文章。
提醒我
推荐的文章
- 文章
渐进多焦点的脑白质病一个25年的回顾性队列研究
像Anand, Gladia c .和田安德烈傅高义et al。
首页神经学:神经免疫学和神经炎症,2019年9月25日 - 文章
全国的发病率PML在瑞典,1988 - 2013艾伦Iacobaeus莎拉·Burkill Shahram Bahmanyar et al。
首页神经学,2018年1月10日 - 文章
同种异体BK病毒特异性t细胞治疗与渐进多灶脑白质病2例诺拉·莫恩Franziska效果,布丽塔一起创造Eiz-Vesper et al。
首页神经学:神经免疫学和神经炎症,2021年5月17日 - 文章
有小点的模式一个有前途的成像诊断natalizumab-associated PML的标志
克里斯汀•Darchis杰罗姆•霍黛尔Olivier Outteryck等。
首页神经学,2016年3月23日


